Rear Parallel Parking Assist Sensors, Removing and Installing
The rear parallel parking assist sensors are installed in the rear bumper cover. Both of the rear parallel parking assist sensors sit on the bumper cover outermost positions on the sides and are used with the parking aid sensors for measuring during the parking process.
The following rear parallel parking assistance sensors are located in the rear bumper cover:
Removing
Caution
Always follow the sequence for removing the sensor.
Otherwise, the sensor may be damaged. Hairline cracks which lead to sensor failure can develop if too much force is used on the sensor.
First remove the sensor from the bracket and then disconnect the connector from the sensor.

Note

Installing
Install in reverse order of removal. Note the following:
Caution
A damaged coupling ring can cause malfunctions.
Do not bend the decoupling ring.
Replace damaged decoupling rings.
Note
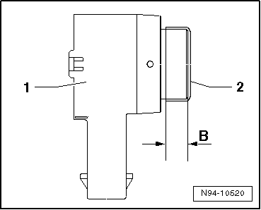
Since the lengths of the sensor heads of the parking aid and the parallel parking assistance sensors are different, the high coupling rings installed are also different.

| Type of Sensor | Height of Decoupling Ring -B- |
| Parking Aid Sensor | 5.7 mm |
| Parallel Parking Assistance Sensor | 9.05 mm |
Note

Parallel Parking Assistance Sensor, Replacing
The rear parallel parking assist sensors are installed in the rear bumper cover. Both of the rear parallel parking assist sensors sit on the bumper cover outermost positions on the sides and are used with the parking aid sensors for measuring during the parking process.If a new parallel parking assistance sensor is installed, the sensor head must first be painted to match the color of the bumper cover. The following requirements must be observed when painting the sensors to ensure that the parallel parking assistance will work correctly.
Sensor, Painting:
Note
Paint application dimension -B- is 3 mm (+ maximum 2 mm).
Caution
Rear Parallel Parking Assist Sensors, Checking
The rear parallel parking assist sensors are installed in the rear bumper cover. Both of the rear parallel parking assist sensors sit on the bumper cover outermost positions on the sides and are used with the parking aid sensors for measuring during the parking process.Checking the rear parallel parking assist sensor is identical to checking the front parking aid sensor or front parallel parking assist sensor.
Front Parking Aid or Parallel Parking Assistance Sensors
Rear Parallel Parking Assist Sensor Mount, ReplacingVolkswagen Tiguan Owners Manual > Changing a wheel: After changing a wheel
Read and follow the introductory information and
safety information first⇒Introduction
to the subject
Clean the tools in the vehicle tool kit if necessary and stow them in the
left storage compartment in the luggage compartment ⇒ Vehicle tool kit .
Securely store the compact ...