Steering Lock Housing
Steering Lock Housing, Removing and Installing
Caution
Always follow the procedure as described in the Repair Manual when disconnecting and connecting the battery.
Note
To remove the steering lock housing, remove the steering column switch base carrier first.
Caution
WARNING
Before working on electronic system and removing the steering wheel the following conditions must be met:
The technician must discharge static electricity. This is accomplished by touching grounded metal like, for example, water pipes, heating pipes, metal carriers or a heater pipe.
If this note is ignored it can result in failure of the control modules during later operation.
If this note is ignored, it can result in failure of the airbag system during later operation.
Caution
If the universal joint is separated from the steering gear, or the Steering Angle Sensor -G85- is removed, do not perform the following tasks:
These points must be followed otherwise, it can lead to irreparable damage.
Removing
Lock Cylinder
Lock Cylinder, Removing and Installing
Caution
Always follow the procedure as described in the Repair Manual when disconnecting and connecting the battery.
Caution
WARNING
Before working on electronic system and removing the steering wheel the following conditions must be met:
The technician must discharge static electricity. This is accomplished by touching grounded metal like, for example, water pipes, heating pipes, metal carriers or a heater pipe.
If this note is ignored it can result in failure of the control modules during later operation.
If this note is ignored, it can result in failure of the airbag system during later operation.
Caution
If the universal joint is separated from the steering gear, or the Steering Angle Sensor -G85- is removed, do not perform the following tasks:
These points must be followed otherwise, it can lead to irreparable damage.
Removing
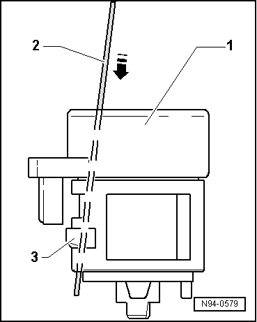
Note

Key positions of lock cylinder:

Note
For reasons of clarity, the following illustration depicts lock cylinder as removed and without ignition key.

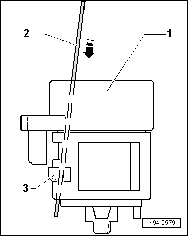
Installing
Note
To improve clarity, the ignition key is not shown in the following illustration.

Note
Connection of induction coil for anti-theft immobilizer must be inserted into guide on steering lock housing.
Ignition/Starter Switch
Ignition/Starter Switch, Removing and Installing
Caution
Always follow the procedure as described in the Repair Manual when disconnecting and connecting the battery.
Removing

Only Manufacturer Kostal

Continuation for All Vehicles

Installing

Note
The key must be in the "Run" position.
Key positions of lock cylinder:
Ignition/Starter Switch, Checking
Caution
Always follow the procedure as described in the Repair Manual when disconnecting and connecting the battery.
Ignition Switch, Removing and Installing, Vehicles with Keyless Access
Caution
Always follow the procedure as described in the Repair Manual when disconnecting and connecting the battery.
In vehicles with the "Keyless Access" system, the Start System Button -E378- is installed in the center console instead of the usual ignition switch in the steering column.
Start System Button -E378-, Removing and Installing.
Ignition Switch Key Lock Solenoid -N376-
Ignition Switch Key Lock Solenoid -N376-, Removing and Installing
The Ignition Switch Key Lock Solenoid -N376- must be mounted next to the ignition/starter switch.
Note
To remove the ignition key in vehicles with a DSG transmission, move the selector lever into the "P" position and then switch off the ignition. Otherwise, the Ignition Switch Key Lock Solenoid -N376- prevents the key from being removed.
Removing

Installing
Note
After connecting the battery, perform an output diagnostic test to activate the Ignition Switch Key Lock Solenoid -N376-.
Electronic Steering Column Lock Control Module -J764-
Access/Start Authorization, KESSYVolkswagen Tiguan Service and Repair Manual > Exterior Lights, Switches: Front Parking Aid
General Information
Note
Familiarity with the function and operation of the parking aid is needed
if there are customer concerns.
Refer to Owner's Manual.
The front parking aid system, or PDC (Park Distance Control), assists the
driver while parking or maneuvering by indicating acoustically t ...