General Information
WARNING
Before working on electronic system and removing the steering wheel the following conditions must be met:
The technician must discharge static electricity. This is accomplished by touching grounded metal like, for example, water pipes, heating pipes, metal carriers or a heater pipe.
If this note is ignored it can result in failure of the control modules during later operation.
If this note is ignored, it can result in failure of the airbag system during later operation.
Removing and installing the steering column switch mount is different for the two manufacturers.
Steering Column Switch Mount, Removing and Installing, Valeo
Special tools and workshop equipment required
Caution
Always follow the sequence when removing and installing steering column switch components.
WARNING
Before working on electronic system and removing the steering wheel the following conditions must be met:
The technician must discharge static electricity. This is accomplished by touching grounded metal like, for example, water pipes, heating pipes, metal carriers or a heater pipe.
If this note is ignored it can result in failure of the control modules during later operation.
If this note is ignored, it can result in failure of the airbag system during later operation.
Removing
Note
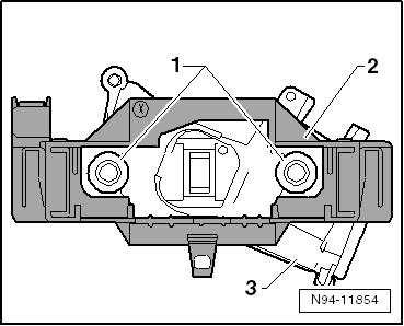
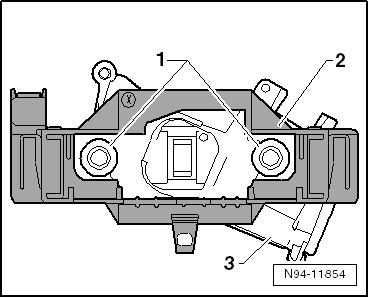
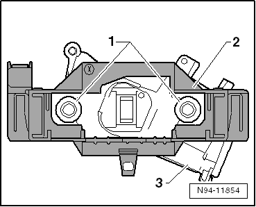
The shear bolts -1- of the steering lock housing must be drilled out in order to remove the steering column switch mount -2-. New shear bolts will be needed later for installing. Refer to the Parts Catalog.

Caution
Caution
Always follow the procedure as described in the Repair Manual when disconnecting and connecting the battery.
Once all components secured to the mount have been removed, the mount can be removed:

Note
M8 bolts -1-, hole diameter 6.8 mm.

Installing
Steering Column Switch Mount, Removing and Installing, Kostal
Special tools and workshop equipment required
Caution
Always follow the sequence when removing and installing steering column switch components.
WARNING
Before working on electronic system and removing the steering wheel the following conditions must be met:
The technician must discharge static electricity. This is accomplished by touching grounded metal like, for example, water pipes, heating pipes, metal carriers or a heater pipe.
If this note is ignored it can result in failure of the control modules during later operation.
If this note is ignored, it can result in failure of the airbag system during later operation.
Caution
If the universal joint is separated from the steering gear, or the Steering Angle Sensor -G85- is removed, do not perform the following tasks:
These points must be followed otherwise, it can lead to irreparable damage.
Removing
Note
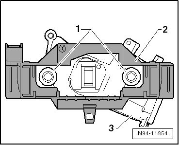
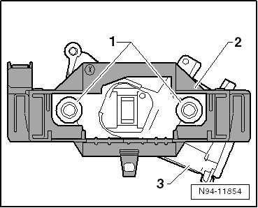
The shear bolts -1- of the steering lock housing must be drilled out in order to remove the steering column switch mount -2-. New shear bolts will be needed later for installing. Refer to the Parts Catalog.

Caution
Caution
Always follow the procedure as described in the Repair Manual when disconnecting and connecting the battery.
Once all components secured to the mount have been removed, the mount can be removed:

Note
M8 bolts -1-, hole diameter 6.8 mm.
Installing

Steering Column Combination Switch -E595-Volkswagen Tiguan Owners Manual > Cup holders: Cup holders in the rear center armrest
Fig. 122 In the rear center armrest:
Cup holders.
Read and follow the introductory information and
safety information first⇒Introduction
to the subject In order to use the cup holder in the rear center armrest, the
padded armrest must be pulled off ⇒ Sitting properly and safely .
W ...