Releasing and Disassembly Contact Housings, General Information
Note
The allocation of the correct release tools to the respective locking mechanisms can be found in the table in the Release Tool Set -VAS1978/35- Operating Instructions.
Secondary Lock
The secondary lock is a housing securing mechanism (second locking mechanism) that secures all wires in one contact housing. If a secondary lock is installed at a contact housing, it must always be opened or removed using specified tool before releasing and pulling out individual crimp contacts.
Secondary lock is distinguished by a different color from the rest of the contact housing. It simplifies recognizing the secondary lock and clarifies its function.
The shapes of the terminal housings depicted here are only a selection which, as an example, should make clear the various functions of the secondary lock.
Example 1
Housing securing mechanism is released by removing a "comb"-arrow-.

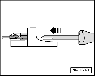
Example 2
Housing securing mechanism is released by opening a "flap"-arrow-.

Example 3
Housing securing mechanism can be released by disengaging a "slider"-arrow-.

Primary Lock
The primary lock is the locking mechanism of an individual crimp contact in the contact housing.
If necessary, housing securing mechanisms (secondary locks) must be released or removed using specified tool before releasing the contacts.
The shapes of the primary locks depicted in the following are only a selection which, as an example, should make clear the various functions of the primary lock.
The allocation of the correct release tool for the respective locks can be found in the table in the Release Tool Set -VAS1978/35- Operating Instructions.
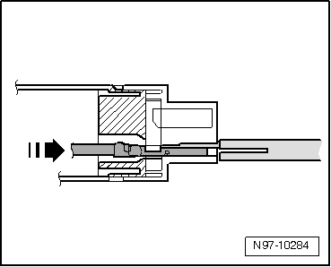
Round Connector Systems
Note
If necessary, housing securing mechanisms (secondary locks) must be released or removed using specified tool before releasing the contacts.

Note
By pushing the contact in the direction of the contact housing, the contact retaining tabs are lifted off the housing shoulder and can be released using the release tool.

Flat Connector Systems
Note
If necessary, housing securing mechanisms (secondary locks) must be released or removed using specified tool before releasing the contacts.
Flat Connector System with One Retaining Tab

Note
By pushing the contact in the direction of the contact housing, the contact retaining tab is lifted off the housing shoulder and can be released using the release tool.

Flat Connector System with Two Retaining Tabs

Note
By pushing the contact in the direction of the contact housing, the contact retaining tabs are lifted off the housing shoulder and can be released using the release tool.

Asymmetrical

Note
By pushing the contact in the direction of the contact housing, the contact retaining tabs are lifted off the housing shoulder and can be released using the release tool.

Special Connector Systems
Note
If necessary, housing securing mechanisms (secondary locks) must be released or removed using specified tool before releasing the contacts.
Faston Contacts

Note
By pushing the contact in the direction of the contact housing, the contact retaining tabs are lifted off the housing shoulder and can be released using the release tool.

GT 150/280 Contacts

Contact is ejected from the contact housing.

Contacts without Retaining Tabs

Contact is ejected from the contact housing

Contact Housings and Connectors, Repairing
Contact Surface Cleaning Set -VAS6410-Volkswagen Tiguan Service and Repair Manual > Exterior Lights, Switches: Fog Lamp
General Information
NoteThe design of the front bumper cover on the Tiguan has two different
approach angles (18º and 28º) depending on the equipment level. Removing and
installing the fog lamp bulb or the fog lamp itself is the identical for both
versions.Malfunction Recognition and Malfunctio ...