General Information
Depending on the vehicle radio or radio navigation system used, the reception can be expanded for satellite radio programs via equipment with a digital satellite radio tuner.
The digital satellite radio tuner is installed in the "RNS 315" unit.
Note
For servicing or trouble shooting, use the Vehicle Diagnostic Tester and → Wiring diagrams, Troubleshooting & Component locations
When the battery is reconnected, check any affected system or component (radio, clock, comfort electrical connection etc.) according to the repair manual and/or the Owner's Manual.
A satellite reception antenna is installed on the rear of the roof for satellite radio tuner operation.
In the Tiguan, the digital satellite radio tuner is installed under the front right seat.
Troubleshooting
The digital satellite radio tuner is equipped with On Board Diagnostic (OBD) capabilities
Use the Vehicle Diagnostic Tester under "Guided Fault Finding".
Digital Satellite Radio, Removing and Installing
Removing
Do the following before starting the procedure:



Installing
Installation is performed in the reverse order of removal.
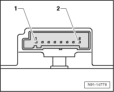
Overview - Multi-Pin Connectors on Digital Satellite Radio Tuner

Multi-Pin Connector 1, Assignment

Multi-Pin Connector 2, Assignment

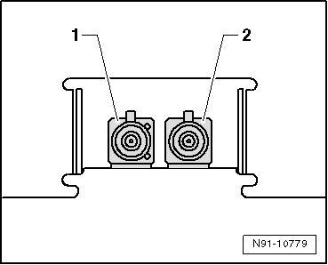
Antenna Connectors, Assignment

For vehicles from 11/2006, a connection is still available here.
CD Changer
External Multimedia Device Interface -R215-Volkswagen Tiguan Owners Manual > Jump-starting: Using jumper cables
Fig. 211 Diagram for attaching the jumper
cables: Dead battery ① and booster battery ②.
Read and follow the introductory information and
safety information first⇒Introduction
to the subject The dead battery must be properly connected to the vehicle's electrical
system.
Make certain ...