Overview - Rim

Identification
There are several specifications located on the rim. The following examples shows the rim identification:
| Replacement parts number: | 6E0 601 027 A |
| Size of disc wheel: | 6 J x 15 6 - Rim width in inches J - Shape of rim flange 15 - Rim diameter in inches |
| Offset (mm): | 43 |
| Indication for hump on bead seat: | EH2 Extended Hump 1) |
1) Raised round hump on both bead seats. These ensure that when using a tire with emergency mode properties in airless condition, the tire does not slip from the bead seat. Wheels with EH2 are only necessary if tires with emergency mode properties are mounted.
Composite Wheels
Composite wheels consist of various parts.
The primary components are rims and wheel discs. These components are fastened to each other with special screws and a special procedure. This ensures the wheel's function, proper seal, safety and true running. These important requirements cannot be guaranteed under shop conditions and using shop tools.
WARNING
Composite wheels must not be disassembled or repaired!
Light Alloy Wheels, Care and Maintenance
To maintain the decorative appearance of light alloy wheels for a long time, regular care is necessary.In particular, road salt and dust from brake abrasion must be thoroughly washed off every two weeks. Otherwise, the paint of the light alloy wheel will be attacked.
Cleaning AgentThe following are appropriate cleaning agents:
Do not exceed the soaking time of the cleaning agent.
The shorter the specified soaking time is, the stronger and more aggressive the cleaning solution is.
Paint Damage
Fix paint damage as soon as possible.
Removing Adhesive Residue from Glued Balance Weights on Light Alloy Rims
Light Alloy Wheels, Preparing
WARNING
Cutting work, application of heat and welding applications of any kind are not permitted.
Reshaping material is not permitted.The true running and axial run-out deviations before preparation must not exceed the manufacturing tolerance of 0.8 mm.
Only cast light alloy wheels may be primed. These wheels have the material identification AlSi xx on the inside.Forged wheels may only be painted.
Preparation is limited to the painted surfaces.Wheels that have been worn smooth that only have a clear coat may not be repaired.
Only surface damage on the visible side of the wheel may be prepared.Damage must not be more than 1 mm deep.
Up to 50 mm of the rim flange may be removed and filled.Hub Cap for Alloy Wheels with Open Threaded Connection, Removing and Installing
Removing
Note
Hold the cap secure -1- with the hammer.

Installing

Decorative Trims, Replacing
Decorative Trims, Replacing, Bonded Decorative Trims
Special tools and workshop equipment required
Materials
Decorative Trim, Removing
Note
It is not possible remove the decorative trim without damaging it.

Caution
Do not overheat tires and light alloy wheels.
Note
Decorative Trim, Installing
These light alloy wheels are equipped with replaceable decoration elements. Note the following when installing.

Adhesive point: length = approximately 25 mm and diameter = approximately 10 mm

Minimum Curing Time: 3 Hours at Room Temperature of Minimum 15 ºC (59 ºF).
WARNING
The light alloy wheel must be balanced again.
Decorative Trims, Replacing, Bolted Decorative Trims
These disc wheels are equipped with replaceable decoration elements. Note the following when installing.

Tightening specification for self-locking hex socket bolts: 5 Nm
Valve, Removing and Installing
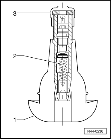
Valve, Removing and Installing, Valve Explanations
1. Valve Body
The rubber valve for tubeless tires is designed to seal air-tight in the hole in the rim. The elastic material of the rubber body presses itself tightly into the hole in the rim.
When valves with threaded metal feet are used, a rubber seal is used to seal the rim. The area around the edge of the valve hole is a sealing area. Therefore, they must be free of rust, dirt and damage.
2. Valve Insert
The valve core has the most important job in the valve. It creates a seal and enables the regulation of the air pressure. The small plate seal on the valve core can only do its job when it is free of impurities, dirt and moisture. The compressed air system must be free of water and oil!

3. Valve Cap
A valve cap must always be screwed onto the valves. It prevents dirt from getting into the valve. Dirt which may be in the valve would reach the seal of the valve plate when the tire is inflated and cause a leak.
The valve must be replaced every time a new tire is fitted.
If the vehicle is driven without caps on the valves, there is the danger that dirt may get into the valve. This leads to gradual loss of air and therefore lead to the destruction of the tire:
WARNING
An air-tight seal is ensured only if the valve cap is secured tightly.
Valve, Removing and Installing, Rubber Valve
Make sure wheel rim is clean.

Valve, Removing and Installing, Metal Valve
Special tools and workshop equipment required
Perform the Following:
Removing

Installing
Caution
Only apply the specified torque to tighten the nut for the metal valve. Tightening more is not permitted because it damages the seal.

Run-Flat System PAX
Run-Flat System PAX, Support Ring
Dimensions
Overview of the most important dimensions:
Names
Example: 90-500(35) CLI A 1 876107
90 - Designated width in millimeters
500 - Designated diameter in millimeters
35 - Height in millimeters
CLI - Support ring versions: CLI - Clip supporting ring/FL - standard supporting ring
A - Build type index, asymmetrical. Indication of wheels with emergency running characteristics (PAX)
1 - Supporting ring versions
876107 - CAI, international item code

Run-Flat System PAX, Dimensions and Designations on PAX Rims
Example: 235 x 500 A - 5 - 41
235 - Designated width in millimeters
x - One-part
500 - Designated diameter of standardized rim seat in millimeters
A - Asymmetrical
5 - Number of bolt holes
41 - Offset in millimeters

Run-Flat System PAX, Examining Support Ring
As with the tire, the supporting ring is generally not replaced after driving with flat tire.
Replace the support ring if the following damages have occurred:




Repairs on Tires
Note
Run-Flat Tire PAX
Tire Pressure SensorVolkswagen Tiguan Service and Repair Manual > Subframe, Stabilizer Bar and Control Arms: Control Arm with Mounting Bracket, Removing and Installing
Special tools and workshop equipment required
Torque Wrench 1332 40-200Nm -VAG1332-
Locating Pins -T10096-
Removing
Remove the wheel.
Remove the lower noise insulation.
Remove the nuts -arrows-.
Remove the wheel bearing housing with the ball joint from the control
arm.
Secure position f ...