Tire Service Life, Influences
The following factors influence the service life of a tire in varying degrees.
Driving style:
Service;
Area:
Vehicle:
Tire Operating Conditions
Tire Construction:
Winter/summer
Changes to the Suspension:
If a "lowering-kit" and /or light alloy wheels from accessories which have not been approved by the vehicle manufacturer are used, wheel alignments which deviate from the alignment specified in design may occur during travel.
Even if the adjustment of the axle geometry measured on a standing vehicle is correct, changes in the body height and positions of the wheels during travel can lead to changes to the paths of travel of the wheel suspension.
For this reason, uneven wear is pre-programmed.
Heel and Toe Wear
Heel-and-toe wear is step-like wear of individual tread blocks, due to which an increased rolling noise can develop. The heel-and-toe wear is caused by the uneven distortion of the tread blocks in the contact patch. Heel-and-toe wear appears in more extreme forms on non-tractive wheels than on tractive wheels.
New tires have a stronger tendency to heel-and-toe wear, because the high tread blocks have greater elasticity. As tread depth decreases, the rigidity of the tread blocks increases and the tendency to heel-and-toe wear decreases.
Appearance of Heel-and-Toe Wear

Extreme heel-and-toe wear may lead to customer complaints about noise.
Increased heel-and-toe wear occurs with:
Non-Directional Tires
When heel-and-toe wear occurs, the direction of travel of the tire must be reversed. If increased heel-and-toe wear and rolling noise develop, the tires should be rotated diagonally. This leads to a reduction of heel-and-toe wear.
On vehicles with front wheel drive, this effect is increased by increased wear on front axle.
The rolling noise is somewhat louder immediately after rotating the wheels, but the normal noise level will be reached after traveling approximately 500 to 1,000 km (310.68 to 621.37 miles).
Directional Tires
In the event of increased heel-and-toe wear of the tires on the rear axle - most common with front-wheel drive - rotate the wheels from back to front. In the event of increased heel-and-toe wear on the outer edges on one axle, reverse both tires on their rims. Then the left wheel must be mounted on the right side and the right wheel on the left side.
High Speed Tires, Wear Characteristics
These tires are designed for the highest speeds. Good traction on wet roads is emphasized when developing these tires. Tread compounds do not have the abrasion resistance of tires for lower speeds, such as T and H tires.
Therefore the service life expectancy of high-speed tires is substantially lower under comparable operating conditions.
Tread Depth, Measuring
Note
Tread depth of a tire must be measured in the main grooves at the points showing the most wear. The positions of the tread wear indicators are marked along the tire shoulder -item 2-.

In place of "TWI", there may also be a "Δ" or "VW emblem".
The TWI protrusions are 1.6 mm tall. This is the minimum tread depth legally prescribed in Germany.
Different values may apply in other countries.
Tread Wear Indicators (TWI) must not be included in the measurement. The deepest point of the groove must be used for the measurement.

Tire Wear, One Sided
In many causes, this is caused by driving style, but sometimes it is also caused by incorrect axle adjustment.
Increased One-Sided Wear
One-sided wear, in conjunction with scrub marks on tread ribs and finer grooves, always appears when tires roll at an extreme slip angle and consequently "scrub" on the road surface.

Driving quickly around curves leads to increased wear, especially on the outside edge.
A rounded tire shoulder in conjunction with especially high wear on the outer tread bars indicates fast driving around curves. This wear pattern is influenced by the driving style.
The suspension is adjusted to certain toe and camber values to optimize handling. When tires roll under conditions other than those specified, increased and one-sided wear must be expected.
Strong one-sided wear can be caused especially by incorrect toe and camber values. This increases the danger of diagonal wear spots.
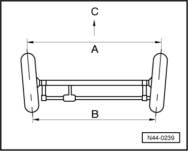
Toe-Out or Negative Toe-In
The distance between the fronts of the tires -A- is greater than the distance between the backs of the tires -B- (-C- = direction of travel).

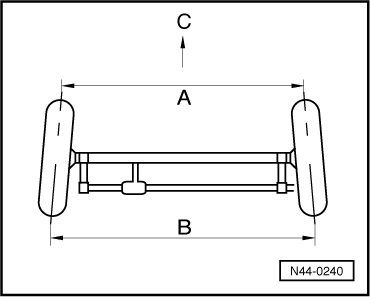
Toe-In or Positive Toe-In
The distance between the fronts of the tires -A- is less than the distance between the backs of the tires -B- (-C- = direction of travel).
To avoid one-sided tire wear, ensure that the wheel alignment remains within the tolerances specified by the vehicle manufacturer. The most common deviation of wheel alignment is caused by external influences, for example hard contact with the curb when parking.
A measurement of the axle geometry can determine whether the wheel alignment is within the specified tolerances or whether a correction of the wheel alignment is necessary.
Changes to the Suspension
If a "lowering-kit" and /or light alloy wheels from accessories which have not been recommended by the vehicle manufacturer are used, wheel alignments which deviate from the alignment specified in design may occur during travel.
Even if the adjustment of the axle geometry measured on a standing vehicle is correct, changes in the body height and positions of the wheels during travel can lead to changes to the paths of travel of the wheel suspension.
For this reason, uneven wear is pre-programmed.
Improper Use of Air Suspension Height Adjustment
The use of off road levels is only recommended when driving off road. The permanent use of off road levels on normal roads can lead to increased tire wear because the changed height changes the wheel alignment relative to the road level.
To Prevent One-Sided Tire Wear, Correct Axle Geometry Adjustment Should Be Ensured On the One Hand, and Intended Use of the Vehicle on the Other Hand.
Good vehicle and tire maintenance helps to prevent tire wear. The following points should especially be observed.

Tire Wear, Outer Shoulder
Improper Use of Air Suspension Height Adjustment
The use of off road levels is only recommended when driving off road. The permanent use of off road levels on normal roads can lead to increased tire wear because the changed height changes the wheel alignment relative to the road level.
To Prevent One-Sided Tire Wear, Correct Axle Geometry Adjustment Should be Ensured On the One Hand, and Intended Use of the Vehicle on the Other Hand.
Good vehicle and tire maintenance helps to prevent tire wear. The following points should especially be observed.
Diagonal Washouts
Diagonal wear spots on tires
Diagonal wear spots run at an angle of approximately 45º with respect to the plane of circumference.
They usually occur once, but may also occur several times along the tire circumference.
Wear spots appear almost exclusively on the non-tractive tires, especially the rear left tire. There are vehicle models where wear spots appear rounded, which are not a problem. The effect is increased by high toe values. Toe values at the lower tolerance limit of the specified value improve the wear pattern.
The tire component integration is often found in the area with the most pronounced diagonal wear spots.
Wheels with toe-in roll with a slip angle even when the vehicle is traveling straight ahead. This leads to diagonal tension in the contact zone between tires/road surface.

Driving with reduced tire pressure will improve the wear pattern. To prevent such wear patterns, the toe values of both rear wheels should be the same and the specified tire pressure should be maintained.
If wear spots are detected, mount the wheels on the tractive axle if the wear spots are still in the initial stage. Deeper wear spots are irreparable.
Faulty Adjustment
When a customer complains of "diagonal wear spots", the toe adjustment must be checked. If it is OK, the cause for the diagonal wear spots is most likely in the tires.
Tires with diagonal wear spots which developed due to faulty adjustment of the axle geometry are excluded from the warranty.
Tire Wear, Center
This wear pattern is found on drive wheels on high-powered vehicles that often drive long stretches at high speed.
At high speeds, the centrifugal force increases the tire diameter at the center of the tread more than at the shoulders of the tire. The drive forces from the center area of the tread are transferred to the road surface. This is reflected in the wear pattern.
These effects can appear especially extreme on wide tires.
Reducing the Tire Pressure is Not an Effective Remedy for this Wear Pattern.
WARNING
For safety reasons, tire pressure must never be lowered below specified pressure under any circumstances.
A largely even wear pattern can be achieved if tires are changed in a timely manner from the tractive to the non-tractive axle.
Increased Tread Wear
Typical wear pattern of tires on the tractive axle of high-powered vehicles.
The increased wear at the tread center is caused by stresses related to the centrifugal force of the tire and the transmission of traction forces.

Permitted Tread Depth - Variance
Note
The technical background of the limitations are thermal pressure for the transmission oil due to a large difference in the rolling circumference of the tires.
The Difference Between the Front and Rear Axle, must Not be Greater Than 3 mm.
Example:
| Front axle left tire tread depth | Front axle right tire tread depth | Average front axle tread depth | Difference of the front axle to the rear axle |
| 2.0 mm | 2.0 mm | 2.0 mm from left to right | 3.0 mm |
| Rear axle left tire tread depth | Rear axle right tire tread depth | Average rear axle tread depth | Within the permissible tolerance |
| 3.0 mm | 7.0 mm (new tire) | 5.0 mm from left to right |
Tires, Evaluating
Component OverviewVolkswagen Tiguan Service and Repair Manual > Electrical Equipment from 06/2011: Instruments
Instrument Cluster
General Information
Note
Additional information:
Refer to Self Study Program; No 404; The Tiguan.
The following components are integrated in the instrument cluster:
Instrument Cluster Control Module -J285-
Anti-Theft Immobilizer Control Module -J362-
Speedometer
Tachometer
F ...